


- 產品概述
- 選型參數
- 安裝尺寸
- 應用領域
- 型號意義
- 產品特點
一、產品概述:
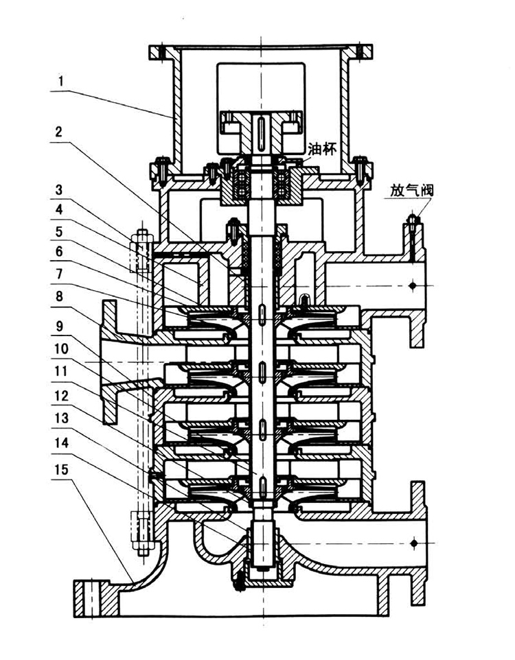
DL立式多級離心泵為立式多級多節段式結構。螺桿把進水段、中段、出水段夾緊聯成一體。水泵每一級 裝一個葉輪、一個導水葉。軸向力采用水力平衡法解決,殘余軸向力由球軸軸承承受,用油脂潤滑。軸封采用軟填料或機械密封。產品執行JB/T2727-93 《立式多級離心泵型式與基本參數》標準,主要供吸送稀釋的、清潔的、不腐蝕的、不爆炸的清水及物理化學性質類似水的不含固體顆粒或纖維的液體。
DL立式多級離心泵采用計算機設計和優化處理,公司擁有雄厚的技術力量、豐富的生產經驗和完善的檢測手段,從而保證產品質量的穩定可靠。
二、適用范圍:
廣泛應用于高層建筑的消防、生活供水以及空調機組循環、冷卻水輸送。
三、DL系列立式多級離心泵產品特點:
1、水力模型先進:效率高,性能范圍廣。
2、結構新穎,運行可靠:取消了平衡鼓,其軸向力采用水力平衡,徹底解決了平衡鼓易銹蝕、易咬死、易磨損的問題,保證了運行更加可靠。
3、更少的運行、維修費用:采用優質機械密封,耐磨損、無泄漏、使用壽命長,故障率低,具有更少的運行維修費用。
4、運行平穩,噪音低:采用低轉速電機,使泵運行平穩,噪音更低。
5、立式結構,占地面積小。
四、技術參數:
流量:4.2-504m3/h;
揚程:24-240m;
功率:1.5-450kw;
轉速:1480r/min;
口徑:φ40-φ250;
溫度范圍:0-+90℃;
工作壓力:≤2.4Mpa。
五、型號意義:
五、DL系列立式多級離心泵選型參數:
![]() |
![]() |
因產品生產批次、型號不同,產品圖片及外形尺寸等僅供參考,詳情可聯系我們的銷售人員

- 上一個產品: CHL輕型不銹鋼多級離心泵
- 下一個產品: D型臥式多級離心泵